| Passwort vergessen?
Sie sind nicht angemeldet. |  Anmelden

Sprache auswählen:

WWW.BLENDE-UND-ZEIT-FORUM.DE (BZF)
Forum und Kompendium für ...
Photographica / Cinematographica - Interessierte.
Virtuelles Kameramuseum
Sie sind nicht angemeldet.
 Anmelden

Schwarz-Weiss-Papierentwicklung. 1 von 4
 1 2 3
 1 2 3
12.01.14 08:40
Rainer 

Administrator

12.01.14 08:40
Rainer 

Administrator

Schwarz-Weiss-Papierentwicklung. 1 von 4

Hallo zusammen,

hier die Beschreibung des prinzipiellen Ablaufs der Entwicklung und Vergrößerung von Schwarz-Weiss-Negativen zu Papierabzügen in der eigenen Dunkelkammer:

  • Raumlicht in der Dunkelkammer wird ausgeschaltet, schwache Dunkelkammerlampe (rot / orange) wird eingeschaltet. Man wartet bis sich die Augen an das schwache Licht gewöhnt haben.

  • Negativ-Film wird in den Kopierrahmen oder in den Vergrößerer eingelegt. Beim Vergrößerer wird durch Hoch- und Herunter-stellen des Vergrößerer-Kopfes die Bildgröße eingestellt, so dass das Bild auf die gewünschte Papiergröße passt oder sogar ein Ausschnitt gewählt wird. Beim Kopierrahmen gibt es nur in der Größe 1:1-Papierbilder. Kopierrahmentechnik mehr: ... https://blende-und-zeit.sirutor-und-comp...19&thread=6

  • Das Bild wird am Vergrößererkopf an der Optik bei offener Blende scharf gestellt, danach wird die Blende kleiner eingestellt und schließlich das Farbfilter in den Lichtkanal eingeschwenkt. Üblich war es die Anfangsblende um zwei Stufen abzublenden.

  • Nun kann das Fotopapier aus der lichtdichten Aufbewahrungsbox entnommen werden und in den Vergrößerungsrahmen eingelegt werden.

  • Jetzt erfolgt die Belichtung. Dazu schwenkt man das Farbfilter aus dem Lichtkanal des Vergrößerers und zählt die Sekunden. Zeiten von 5 - 20 Sekeunden sind anzustreben. Die richtige Sekundenzahl ermittelt man durch Versuche oder mit Hilfe eines Belichtungsmessgerätes. Es gibt Fotopapier mit unterschiedlichen Gradiationen (weich, spezial, normal, hart, extrahart), um auf Bildkontraste reagieren zu können. Weiter gibt es Muliti-Kontrast-Papiere, dabei sorgt ein Farbfiltersystem für unterschiedliche Gradiationswirkung. Nach der Belichtung wird wieder das Farbfilter in den Lichtkanal geschwenkt.

  • Nach der Belichtung wird das Fotopapier zügig mit der Emulsionseite nach unten in die Entwicklerschale eingelegt und dabei darauf geachtet, dass die Entwicklerflüssigkeit das Papier überall benetzt. nach ca. 30 Sekunden dreht man das Papier um. Der Entwicklungsvorgang kann jetzt beobachtet werden. Nach ja 60-90 Sekunden sollte das Bild ausentwickelt sein.


  • Das Papier kommt jetzt für ca 30 Sekunden in ein Zwischenwasserbad (eventuell mit Stoppwirkung) und schließlich in das Fixierbad. Im Fixierbad verbleibt das Photopapier zumindest 10 Minuten (bei Express-Fixierer kürzer, ca 3 Min). Dabei immer wieder mal die Papiere darin bewegen. Nach ca. 2 Minuten könnte man schon die normale Beleuchtung einschalten, aber nur wenn man nicht weitere Abzüge machen will )-:

  • Abschließend wird gewässert. Das sollte auch zumindest 10 Minuten dauern, am besten unter Wasseraustausch.


  • Die Trocknung des Papiers kann an der Luft erfolgen. Echte Papiere neigen dabei zu, sich zu wellen. Man kann auch Hochglanzpressen verwenden. Dabei wird das Papier hochglänzend und glatt. Moderne Plastikpapiere wellen sich in der Regel nicht und haben, wenn gewünscht "kalten Hochglanz".


Die obige Auflistung zeigt nur das Prinzip. In der Praxis werden weitere Aktivitäten oder Prozeduren angewandt, wie z.B. "Abwedeln", Farb-Tönen, Bleichen, Wasserentspannungs-Benetzen, Kontrast verstärken, usw.

Entscheidend für gute Papierbilder ist die Verwendung des Papiers für das aktuelle Negativ mit dem richtigen Kontrastverhalten (Gradiation). Hier kann viel falsch gemacht werden. Das ist ein Thema für einen eigenen Beitrag.

Fehler werden auch bei den "Bädern" gemacht: Die Flüssigkeiten werden zu lange und / oder bei falschen Temperaturen genutzt. Die meisten Bäder sollen bei 20 Grad verwendet werden. Weiter wird oft nicht für genügend Flüssigkeitsbewegung gesorgt. Das gilt insbesondere für das Fixierbad und die Schlußwässerung.

Gern wird (wurde) noch mittels einer Büttenschnittschere der berühmte Büttenrand erzeugt. Es war früher üblich einen kleinen weißen Rand um die belichtete Zone frei zu lassen (heute nicht mehr üblich).

Wichtig: Die Fixierbad-Pinzette darf KEINEN Kontakt zur Entwicklerflüssigkeit haben!

Benutzte Entwickler und Fixierbäder (falls überhaupt möglich) genau nach Anleitung aufbewahren, am besten unter kompletten Luftabschluß in braunen Behältern mit variablen Volumen.



Grüße von Haus zu Haus
Rainer (Forumbetreiber)

Zuletzt bearbeitet am 01.09.23 11:13


Hinweise:

  • These Notes in English here

  • Urheberrechte 1: Keine Scans von Prospekten, Bedienungs-Anleitungen, Prominentenfotos, Kunstobjekten oder Buch/Zeitschriften-Artikeln, die über begründete Bildzitate hinaus gehen.

  • Urheberrechte 2: Nur selbst aufgenommene Fotos. Keine Fotos auf und in fremden Grundstücken / Gebäuden / Museen, Ausstellungen, Theatern, usw.

  • Urheberrechte 3: Textpassagen von fremden Quellen vermeiden, höchstens einige Zeilen deutlich als Zitat erkennbar mit genauer Quellenangabe.

  • Keine Fotos, auf denen Personen erkennbar oder zuord-bar sind, ohne deren schriftliche Genehmigung (DSGVO). Ebenso keine erkennbaren KFZ-Kennzeichen oder Fragmente davon! !

  • Fotos: Für beste Darstellung die Fotos (Thumbnails) unter den Textbeiträgen anklicken.

  • Der Zähler der Vorschaubilder zeigt NICHT die echte Zugriffszahl, die Bild-Anklicke direkt im Text werden nicht gezählt!


30.09.20 10:36
Rainer 

Administrator

30.09.20 10:36
Rainer 

Administrator

Re: Schwarz-Weiss-Papierentwicklung. Weitere Aspekte. Papiergradiation. 2 von 4

Hallo zusammen,

aufgrund einer Anfrage zu dem Labortischaufbau und der richtigen Zahl von "Bädern" und der Anforderung an die Dunkelheit in der Dunkelkammer, hier noch einige Ergänzungen:

Bei der Vergrößerungs-Prozedur von Papierbildern (also nicht der Negativ-Entwicklung) muss nicht absolute Dunkelheit im "Labor" herrschen. Auch das abendliche / nächtliche Arbeitszimmer / Badezimmer (wenn dort Platz für eine Tischfläche (vielleicht auf der Badewanne) vorhanden ist) hinter zugezogenem Vorhang (falls vorhanden) kann ausreichend sein.

Zur Zahl der "Bäder" (also Schalen mit Flüssigkeiten): Gut ist: Entwickler-Schale, Zwischenwässerungs-Schale, Fixierbad-Schale, Schlusswässerungsschale. Wobei die Schlußwässerung auch in der halbgefüllten Badewanne oder in einer Waschschüssel oder unter fließendem Wasser erfolgen kann. 10 Minuten Schlußwässerung ist ein guter Zeitraum.

Abzüge , die nicht richtig fixiert und schlußgewässert wurden, können noch nach Jahren Verfärbungen (Silber/ Chemikalienrückstände) hervortreten lassen.

Heutzutage sollten man bei der Abdunklung bedenken, dass auch Smartphones, Tablet-PCs, Smartwatches plötzlich zum Leben erwachen können unter Lichtabstrahlung. Das kann schon Störeffekte auf noch nicht fixierten belichteten Papieren zeigen. Liegt ein Papier ca 30 - 120 Sekunden im Fixierbad kann das Raumlicht eingeschaltet werden.

Wichtig: Noch unbelichtete Papiere müssen immer lichtdicht gehalten werden, immer nur ein Blatt aus dem Karton und der Umhüllung entnehmen, diesen sofort wieder verschließen.


Blick von oben auf den Labortisch

Papiergradiation:

  • Negativ: Unterentwickelt, kurz belichtet --> Papier ultraweich, weich

  • Negativ: unterbelichtet, lang entwickelt --> Papier weich

  • Negativ: normal belichtet, kurz entwickelt --> Papier spezial

  • Negativ: Normal belichtet, lang entwickelt -->Papier normal

  • Negativ: Überbelichtet, lang entwickelt --> Papier hart

  • Negativ: Überbelichtet, kurz entwickelt --> Papier extra hart


In der Praxis ist die Negativ-Gradiation nicht immer einfach zu beurteilen. Prinzipiell kann man aber sagen: zarte Negative ohne viel Deckung brauchen eher weiche Papiere. Dunkle dichte Negative eher harte Papiere. Man braucht etwas Praxis, bis man Negative richtig einschätzen lernt.

Es gab Belichtungsmesser und Belichtungsautomaten, um exakt die nötige Papiergradiation zu ermitteln. Hier ein Beispiel:

https://blende-und-zeit.sirutor-und-comp...19&thread=9

Anfangs macht man gern Dunkelkammerfehler. Im Dunkelkammerlicht haben Papierabzüge eine andere Schwärzung, bei Tageslicht merkt man das erst.

Es wird empfohlen, bei jeder Dunkelkammer-Session einen Teststreifen eines Motivs zu belichten, dabei sagen wir 6 Zeitstufen, den Teststreifen-Papier teilweise abdecken, und schrittweise länger belichten, die Zeitschritte merken. Dann hat man einen guten Schwärzungsgrad hinsichtlich der Belichtungszeit ermittelt. Ist das Ergebnis bei allen 6 Stufen nicht gut, mit einer anderen Papiergradiation wiederholen.


Grüße von Haus zu Haus
Rainer (Forumbetreiber)

Analog: Aus Negativ wird Positiv.
Digital: Pixel sind nicht alles, aber ohne Pixel ist alles nichts.

Zuletzt bearbeitet am 16.01.21 11:55

Datei-Anhänge
Ulabortisch.jpg Ulabortisch.jpg (260x)

Mime-Type: image/jpeg, 51 kB

11.01.21 14:01
Rainer 

Administrator

11.01.21 14:01
Rainer 

Administrator

Re: Schwarz-Weiss-Negativ u. Papierentwicklung. Handling. 3 von 4

Hallo zusammen,

als kleine Ergänzung einige Anmerkungen zum Handling der Negativ- und Papierentwicklung.

Zuvor: Die für Negative und Positive genutzten Chemikalien können teilweise haut-reizend und leicht giftig sein und dürfen nicht an die Haut in Größenordnungen gelangen, dürfen nicht verschluckt werden, dürfen nicht an Schleimhäute und Augen gelangen. Bei der Entsorgung der Bäder auf die gesetzlichen Vorschriften und die Herstellerhinweise achten.

Negativ-Film:

Beim Einlegen / Einschieben des Negativfilms in die Spur der Entwicklerdose darauf achten, dass man nicht die Emulsionsseite des Films mit den Fingern berührt (Fettfinger). Wird die Dose im Dunkelkammerbeutel beschickt, am besten vorher im Hellen mit einem "Opferfilm" die Prozedur durchtesten, denn nur mit den "blinden" Fingern im Beutel ohne Sicht ist das nicht ganz so einfach.

Ist der Film korrekt eingelegt und die Dose gut verschlossen, sollte die zuvor angesetzte und richtig temperierte Entwicklerflüssigkeit zügig eingefüllt werden. Bitte beachten, das Messen der Entwicklungszeit beginnt sofort mit dem Eingießen. Sofort die Dose mehrfach aufstoßen, damit Luftblasen sich vom Film lösen. Immer die nötige Flüssigkeitsmenge einfüllen, nicht zuwenig.

Die meisten Entwickler brauchen zyklische Bewegungen, damit sich unterschiedliche Flüssigkeitsbereiche überall anlagern können. Hier auf die Hinweise der Bedienungsanleitung des Entwicklers achten. Manche Dosen können umgedreht werden, andere ermöglichen ein Rotieren der Trommel in der Dose (hierbei richtig herum drehen, damit der Film nicht in der Trommel "festgeht").

Ist die Entwicklungszeit abgelaufen, zügig den Entwickler ausgießen und sofort mit gleich temperierten Wasser kurz zwischenwässern, auch hier Dose aufstoßen.

Ausgießen nach ca. 30 Sekunden. Temperiertes zuvor angesetztes Fixierbad einfüllen, aufstoßen. Von Zeit zu Zeit umkippen (wenn die Dose das zulässt) oder Trommelspirale drehen, nach Ablauf der Fixierzeit, Fixierbad aus-kippen (kann zumeist wiederverwendet werden) und Endwässern, dabei kann die Dose geöffnet sein. Der Wasserinhalt der Dose sollte zwanzig-mal getauscht werden.

Ins letzte Wasser kann (auf einen Liter) EIN Tropfen Abwaschspülmittel zugegeben werden oder besser ein Netzmittel, damit Wassertropfen leicht und schnell vom aufgehängten Film ablaufen können.

Es gibt auch Wasserabstreichzangen. Jedenfalls dürfen keine Tropfen lange an-trocknen können.


Papierentwicklung:

Nochmals: Die Bäder (Entwicklung, Zwischenwässerung, Fixierung) sollten gleich temperiert sein (um 20 Grad). Zuerst Emulsionsseite nach unten seitlich gleitend das Papier in die gefüllte Schale gleiten lassen, zumindest für 10 Sekunden Schale kippeln, damit Luftblasen verschwinden. Nach einer Minute Papier wenden und gut dabei eintauchen. Jetzt kann die zunehmende Schwärzung beobachtet werden.

Auch bei den weiteren Bädern (Zwischenwässern, Fixieren, End-Wässern) darauf achten, es sich keine Luftblasen an der Emulsion anhaften können. Auch das Fixierbad sollte immer wieder mal bewegt werden, nur so können die Prozeduren gleichmäßig arbeiten. Nochmals der Hinweis: Kein Verschleppen von Fixierbad ins Entwicklerbad!. Am besten für das Entwicklerbad eine eigene Pinzette zum Papierbewegen.

Auch das End-Wässern ist wichtig, alle Chemikalien sollten entfernt sein, lieber zu lange wässern als zu kurz.

Die Trocknung bei modernen Plastikpapieren ist unproblematisch, aber auch hier darauf achten, dass keine einzelnen Tropfen lange antrocknen können.


Grüße von Haus zu Haus
Rainer (Forumbetreiber)

Analog: Aus Negativ wird Positiv.
Digital: Pixel sind nicht alles, aber ohne Pixel ist alles nichts.

11.01.21 17:50
Rainer 

Administrator

11.01.21 17:50
Rainer 

Administrator

Re: Schwarz-Weiss-Papierentwicklung. Multigrade-Papier. 4 von 4

Hallo zusammen,

typischer weise braucht man in der Schwarz-Weiss-Dunkelkammer 4-6 Papiergradiationen, um von ultraweich bis hart alle Negativ-Kontraste abdecken zu können.

Es gibt aber auch - wie schon erwähnt - Multigrade-Papiere für Schwarz-Weiss-Entwicklung. Hier benötigt man nur einen Papiertyp (Multigrade-Papier), welches in Verbindung mit einem FARBIGEN Filtersatz (unabhängigen vom Standard-Rotfilter des Vergrößerers) die benötigten Gradiationen nachbilden kann.

Das geht so: in den Strahlengang des Vergrößerungsapparats wird zusätzlich zum Schwenk-Rotfilter (wenn das zur Belichtung weggeschwenkt ist) eine WEITERE Filterlade angebracht. Hier kommt eine der 6 (oder mehr) Farbfilter hinein (in Abhängigkeit zum zuvor ermittelten Negativkontrast, z.B. eines Belichtungsmessers). Achtung! Beim Belichten wird das Rot-Filter weggeschwenkt und nur noch das jeweilige schwach farbige Kontrastfilter liegt im Strahlengang. Klingt merkwürdig: Farbige Filter für SW-Entwicklung, aber genau so ist es!

Das Schwarz-weiß-Papier reagiert mit unterschiedlicher Schwärzungskurve auf diese Farbfilter. Zusätzlich bestimmt man die Belichtungszeit durch Austesten oder mit einem Belichtungsmesser / Belichtungsautomat. Kontrast (Gradiation) und Belichtungszeit sind unabhängige Parameter.




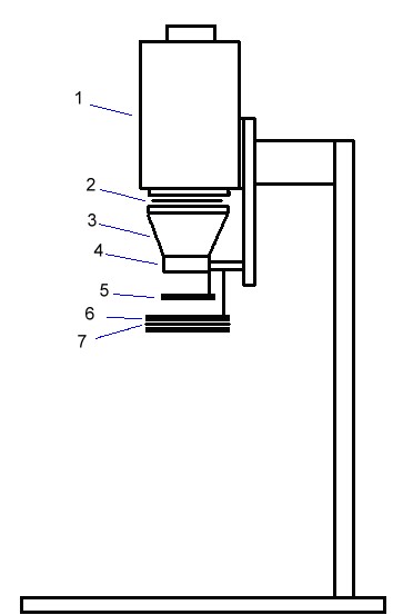
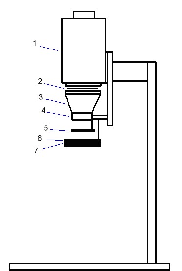
1 Lampengehäuse
2 Negativ in Negativ-Bühne
3 Balgen zum Objektiv
4 Objektiveinheit
5 Schwenkbares Standard-Rotfilter
6 Multigrade-Filter-Set Halterung
7 Einschiebbares Multigrade-Farb-Filter in Abhängigkeit der nötigen Gradiation.


Ich kenne derzeit nur das Multigrade-Papier von Ilford.

Nachtrag zur Belichtungszeitermittlung mit Messgerät/Belichtungsgerät:
Der Belichtungsmesser sollte die hellste und die dunkelste Bildpartie getrennt erfassen und daraus die Belichtungszeit und die Papiergradiation anzeigen können. (Allerdings nutzen die Belichtungsmesser-Automaten leicht unterschiedliche Strategien.)

Diese Geräte müssen zuerst mit dem verwendeten Entwickler dem verwendeten Vergrößerer kalibriert werden. Dafür empfiehlt sich ein Negativfilm, wo zumindest ein normal durch-gezeichnetes Bild zu finden ist. Auch muß die Entwicklertemperatur den Wert haben, den man zukünftig verwenden will. Hier sind einige Testbelichtungen und Entwicklungen durchzuführen. Die Belichtungsautomaten können kalibriert werden. Danach sollten alle weiteren Fotos (auch bei unterschiedlicher Gradiation) vom Gerät richtig erfasst werden. Ausreisser sollten selten vorkommen, ansonsten ist das Gerät fehlerhaft. Ich selbst habe den Philips PDT022 verwendet:


https://blende-und-zeit.sirutor-und-comp...19&thread=9


Grüße von Haus zu Haus
Rainer (Forumbetreiber)

Analog: Aus Negativ wird Positiv.
Digital: Pixel sind nicht alles, aber ohne Pixel ist alles nichts.

Zuletzt bearbeitet am 26.03.21 20:32

Datei-Anhänge
vergroesserer.jpg vergroesserer.jpg (212x)

Mime-Type: image/jpeg, 13 kB

11.01.21 19:49
RolandG 

250-499 Punkte

11.01.21 19:49
RolandG 

250-499 Punkte

Gradationswandelpapiere

Hallo miteinander,

Stand heute gibt's Gradationswandelpapiere nicht nur von Ilford (haben "die*" das nicht erfunden?) sondern einigermaßen in Deutschland als Neu-Ware verfügbar auch als
- foma Variant ("preiswert" und zumindest vor 20 Jahren nicht schlechter als die bekannten Marken)
- Adox mcp
wobei mein Eindruck ist, dass die Preise für Fotopapier eher als die für Filme dem Nischendasein entsprechen.

Mit freundlichen Grüßen
Roland

* Die Marke Ilford ist durch so viele Hände gegangen, dass ich mich schwer tue da eine Kontinuität zu erkennen. Immerhin wird selbst produziert.

Ich meine mich zu erinnern, dass mein Filtersatz für Gradationswandelpapiere aus mehr als 6 Filtern bestand und durch Kombination sehr feine Stufen erreicht werden konnten Ferner gab es m.W.von Durst einen Filterkopf mit stufenloser Gradations-Einstellung - die Farb-Filterköpfe können das natürlich auch.

Zuletzt bearbeitet am 11.01.21 19:53

12.01.21 16:09
Rainer 

Administrator

12.01.21 16:09
Rainer 

Administrator

Re: Schwarz-Weiss-Papierentwicklung. 1 von 4. Multigrade Papiere

Hallo Roland,

ich habe das Ilford multigrade Papier so ungefähr bis Mitte der 90iger Jahren genutzt. Bin dann komplett umgestiegen auf digitale Fotografie und Tintenstrahl / Laser / Sublimationsausdrucke. Habe deshalb die Jahre danach nicht mehr im Fokus hinsichtlich der Gradiationswandelpapiere gehabt.

Interessant also auch für mich, dass da neben Ilford noch andere Anbieter am Markt sind / waren.




Grüße von Haus zu Haus
Rainer (Forumbetreiber)

Analog: Aus Negativ wird Positiv.
Digital: Pixel sind nicht alles, aber ohne Pixel ist alles nichts.

15.01.21 20:21
Georg 

500 und mehr Punkte

15.01.21 20:21
Georg 

500 und mehr Punkte

Re: Schwarz-Weiss-Papierentwicklung. 1 von 4

Hallo Rainer,

danke für die ausführlichen Erläuterungen zur Dunkelkammerarbeit.

In den vergangenen ca. 70 Jahren habe ich allerdings nach Einkippen des Fixierbads nicht erst gewartet, sondern gleich das normale Licht angemacht. Dies habe ich von meinem Vater gelernt, und dessen s/w-Kleinbild Filme sind nach 90 Jahren noch in Ordnung.
Dazu kam die Empfehlung, die Wirkung des Fixierens zu beobachten und nach scheinbarer Klärung des Films die verstrichene Zeit noch einmal weiter zu fixieren.

Viele Grüße,
Georg

16.01.21 12:02
Rainer 

Administrator

16.01.21 12:02
Rainer 

Administrator

Re: Schwarz-Weiss-Papierentwicklung. 1 von 4

Hallo Georg,

ja das stimmt schon, sowie das Papier im Fixierbad liegt, kann Licht eingeschaltet werden. Meine Zeit von 2 Min. soll nur ein Sicherheitspolster sein. Es gab früher Papiere wo es passieren konnte, dass nicht sofort das Fixiermittel an alle Stellen der Silberschicht angriffen. Bei den modernen Plastikpapieren ist das aber eigentlich auszuschließen. Sagen wir mal so: Es schadet nichts, wenn man erst nach zwei Minuten Licht anmacht.



Grüße von Haus zu Haus
Rainer (Forumbetreiber)

Analog: Aus Negativ wird Positiv.
Digital: Pixel sind nicht alles, aber ohne Pixel ist alles nichts.

01.09.23 11:00
Rainer 

Administrator

01.09.23 11:00
Rainer 

Administrator

Re: Schwarz-Weiss-Papierentwicklung. 1 von 4. Theorie und Praxis

Hallo zusammen,

weiter oben in diesem Thread ist die Heimlabor-Arbeit beim SW-Vergrößern detailliert angesprochen worden. In der Praxis war das alles aber nicht ganz so klar durchführbar. Viele Parameter konnten die Ergebnisse beeinflussen.

  • So nahm z.B. die Zimmertemperatur in der Dunkelkammer Einfluss. Schon ein zwei Grad Unterschied im Raum (noch mehr in den angesetzten Bädern in den Schalen) veränderte die Bildschwärzung.

  • Auch der Zustand des Entwicklers (Alter im gebrauchsfertigen Zustand, mit Zahl der Entwicklungs-Sitzungen) brachte unterschiedliche Ergebnisse. Konnte man die Flüssigkeit ohne Luft im Behälter lagern?

  • Gern herrschte die Praxis, dass im Entwicklerbad das Bild zu schnell entstand. Oft war schon nach 20 Sekunden nötig, das Bild schnell zu entnehmen und ohne Zwischenwässerung in das Fixierbad zu schieben, weil die Gefahr bestand, dass das Bild zu-dunkelte. Richtig war eine Belichtung erst wenn das Bild nach ca 1 Minute von selbst aufhörte dunkler zu werden!

  • Weiter war es wirklich für viele Hobby-Laboranten schwierig die richtige Papier- Graduation zu erkennen. Viel Ausschuss entstand so.

  • Ein weiteres unterschätztes Problem lag in Fusseln und Staub. Erst bei der Betrachtung im Hellen erkannte man plötzlich wie-viel solcher Fusseln sichtbar waren. Ein großes Problem. Oft half eine nachträgliche Retusche nicht wirklich weiter.

  • Unterschätzt auch das Nachlassen der Konzentration. Wenn man nach zwei Stunden Laborarbeit nicht mehr aufmerksam genug war, schlichen sich Fehler ein, gern auch das Ansteigen unscharfer Belichtungen.


Merke: Die Praxis war schwieriger als die Theorie ...

Beste Grüße von Haus zu Haus
Rainer (Forumbetreiber)

Analog: Aus Negativ wird Positiv.
Digital: Pixel sind nicht alles, aber ohne Pixel ist alles nichts.

Zuletzt bearbeitet am 01.09.23 11:10

01.09.23 14:04
Scannerhannes 

500 und mehr Punkte

01.09.23 14:04
Scannerhannes 

500 und mehr Punkte

Re: Schwarz-Weiss-Papierentwicklung. 1 von 4

Moin!
Hat man nicht dafür in das Zwischenbad einen Schuß Essig getan? Ich glaube mich zu erinnern, daß ein leicht saures Bad den Entwickler sofort stoppt.

Klar, die Temperatur muss stimmen, sonst stimmt nämlich garnichts. Und ich rede niht von der Bädertemperatur, sondern von der Raumtemperatur. Im Sommer hat man halt Pech gehabt oder man musste die Entwicklungszeit anpassen. Das wichtigste und wertvollste Messgerät ist ein riesiges Laborthermometer.

Einen Belichtungsmesser zum Vergrößern habe ich nie gehabt. Ich glaube, als ich noch bei meinen Eltern wohnte und also Zeit und Platz zum Selbervergrößern hatte (das kam viel, viel später wieder in meinem ersten Appartment in einem Gartenhäuschen), gab es die noch garnicht. Jedenfalls garantiert nicht für einen armen Schüler vom Taschengeld. Dafür aus Pappe ein selbstgebasteltes Dingsda entweder zum Weiterschieben eines Probestreifens Vergrößerungspapier unter einem Fensterchen oder zum sukzessiven Aufklappen einer Reihe von Kläppchen, um die verschiedenen Belichtungszeiten auszuprobieren.

Grüße,

Hannes :)

 1 2 3
 1 2 3
Belichtungszeitermittlung   Vergrößerungs-Prozedur   Gradiationswandelpapiere   Grüße   Belichtungsmesser-Automaten   Dunkelkammer-Erfahrungen   Entwicklerflüssigkeit   Menschheit-vor-900-000-Jahren-am-Rand-des-Aussterbens-article24365544   Weiterverarbeitungsprozess   Schwarz-Weiss-Dunkelkammer   Hochglanz-Plastik-Papieren   Schwarz-Weiss-Papierentwicklung   Zwischenwässerungs-Schale   Belichtungsmessgerätes   Negativ   Schwarz-Weiss-Entwicklung   Essig-Stopp-Zwischenband   Gradationswandelpapiere   Wasserentspannungs-Benetzen   Schlusswässerungsschale