| Passwort vergessen?
Sie sind nicht angemeldet. |  Anmelden

Sprache auswählen:

WWW.BLENDE-UND-ZEIT-FORUM.DE (BZF)
Forum und Kompendium für ...
Photographica / Cinematographica - Interessierte.
Virtuelles Kameramuseum
Sie sind nicht angemeldet.
 Anmelden

[iIa] Balda Baldi 3x4
 1 2 3
 1 2 3
14.11.22 21:29
Jan_S 

Moderator

14.11.22 21:29
Jan_S 

Moderator

[ iIa ] Balda Baldi 3x4

Hallo Forum,

hier mal wieder etwas aus dem Bereich der 3x4-Sucherkameras, eine Balda Baldi:



Es handelt sich um eine Springkamera für 127er Rollfilm, ähnlich der (etwas einfacher ausgestatteten) Rigona aus gleichem Haus und der Zeiss Ikon Ikonta 520/18. Ausgestattet ist sie mit einem Meyer Trioplan 2,9/5 cm in Ring-Compur. Der Durchsichtssucher besitzt einen Parallaxenausgleich, er kann etwas geneigt und so auf die unterschiedlichen Entfernungen eingestellt werden. Bemerkenswert auch der Rotfensterverschluss, den keineswegs alle Kameras besaßen. Hier erkennt man übrigens auch das Balda-Logo. Dieses Exemplar ist ansonsten unbezeichnet, nach den Angaben aus der Literatur und den zeitgenössischen Balda-Prospekten kann sie aber eindeutig als Baldi identifiziert werden.



Der Filmtransport erfolgt mit einem griffigen Drehrad, im Prospekt von 1932 als "Filmtransporter" angepriesen. Der Clou: "Eine volle Rechts- und Linksdrehung ... genügt. ... Die Beobachtung der Filmfenster kommt in Wegfall. Filmtransport gefühlsmäßig – durch einen Anschlag zwangsweise richtig." Wir haben es hier also mit einer Art Automatik zu tun. Auf dieses Feature wird in der Sammlerliteratur m.E. nicht hingewiesen; man muss auch erst einmal darauf kommen... Ich habe es an meinem Expl. ausprobiert; in der Tat lässt sich der Transportknopf zurückdrehen. So ganz präzise scheint das aber leider nicht (mehr) zu funktionieren.

Es gab die Kamera auch mit anderen Objektiven; Spitzenmodell war die Ausführung mit Tessar in Compur-Rapid mit Schneckengangverstellung. In der hier gezeigten Ausführung wurde sie 1932 für 62 RM angeboten. Ich bin froh, zumindest diese einfache Ausführung zu besitzen, denn im Gegensatz zur Rigona wird die Baldi nur selten angeboten.

Das mag auch daran liegen, dass man bei Balda auf das Kleinbildformat umstieg; die Baldina und die davon abgeleitete Jubilette in einem ähnlichen Gehäusse sind sehr verbreitet.



--
Beste Grüße
Jan

Datei-Anhänge
baldi_1.jpg baldi_1.jpg (150x)

Mime-Type: image/jpeg, 536 kB

baldi_2.jpg baldi_2.jpg (151x)

Mime-Type: image/jpeg, 786 kB

baldi_3.jpg baldi_3.jpg (148x)

Mime-Type: image/jpeg, 445 kB


Hinweise:

  • These Notes in English here

  • Urheberrechte 1: Keine Scans von Prospekten, Bedienungs-Anleitungen, Prominentenfotos, Kunstobjekten oder Buch/Zeitschriften-Artikeln, die über begründete Bildzitate hinaus gehen.

  • Urheberrechte 2: Nur selbst aufgenommene Fotos. Keine Fotos auf und in fremden Grundstücken / Gebäuden / Museen, Ausstellungen, Theatern, usw.

  • Urheberrechte 3: Textpassagen von fremden Quellen vermeiden, höchstens einige Zeilen deutlich als Zitat erkennbar mit genauer Quellenangabe.

  • Keine Fotos, auf denen Personen erkennbar oder zuord-bar sind, ohne deren schriftliche Genehmigung (DSGVO). Ebenso keine erkennbaren KFZ-Kennzeichen oder Fragmente davon! !

  • Fotos: Für beste Darstellung die Fotos (Thumbnails) unter den Textbeiträgen anklicken.

  • Der Zähler der Vorschaubilder zeigt NICHT die echte Zugriffszahl, die Bild-Anklicke direkt im Text werden nicht gezählt!


05.04.23 13:30
axel 

Moderator

05.04.23 13:30
axel 

Moderator

Re: Balda Baldi 3x4

Hallo Jan,

wie unterscheidet man die Baldi von der Rigona (außer durch die Beschriftung)? Ich kann da konstruktiv keinen wesentlichen Unterschied erkennen.

Beste Grüße

Axel

05.04.23 17:36
Jan_S 

Moderator

05.04.23 17:36
Jan_S 

Moderator

Re: Balda Baldi 3x4

Hallo Axel,

ja, die Grundkonstruktion der Kameras ist gleich; soweit ich sehe, unterscheiden sie sich in der Ausstattung (wobei es auch bei der Baldi Unterschiede gibt):

Die Baldi besitzt gegenüber der Rigona den Fernrohrsucher mit Parallaxenausgleich, einen 'automatisierten' Filmtransport (Vor- und Zurückdrehen ohne Rotfensterbeobachtung) und die besseren Verschlüsse (Compur bzw. Compur-Rapid). Andererseits wird z. Zt. auch eine Rigona mit Cpr. angeboten...
Ein Gehäuseauslöser kam im Laufe der Serie (auch bei der Rigona).

Hier ein Überblick über die Merkmale der Baldi (Prospekt Photo-Annacker 1937):



--
Beste Grüße
Jan

Zuletzt bearbeitet am 05.04.23 17:51

Datei-Anhänge
Baldi_Photo_Annacker_1937.png Baldi_Photo_Annacker_1937.png (146x)

Mime-Type: image/png, 222 kB

05.04.23 19:58
axel 

Moderator

05.04.23 19:58
axel 

Moderator

Re: Balda Baldi 3x4

Danke Jan!

Das mit der "Filmtransport-Automatik" finde ich sehr interessant - eine fortschrittliche Einrichtung. Gab es so etwas auch bei anderen Rollfilmkameras dieser Zeit?

Beste Grüße

Axel

05.04.23 22:55
Jan_S 

Moderator

05.04.23 22:55
Jan_S 

Moderator

Re: Balda Baldi 3x4

Hallo Axel,

ich kenne das von keiner anderen Kamera, und dass die Baldi über so ein Feature verfügt, habe ich erst bei der Lektüre eines zeitgenössischen Prospekts gesehen. In der Sammlerliteratur habe ich keinen entsprechenden Hinweis gefunden. – Ich habe das bei meinem Exemplar ausprobiert, so richtig zuverlässig funktioniert das nicht (mehr).

--
Beste Grüße
Jan

06.04.23 17:07
axel 

Moderator

06.04.23 17:07
axel 

Moderator

Re: Balda Baldi 3x4

Hallo Jan,

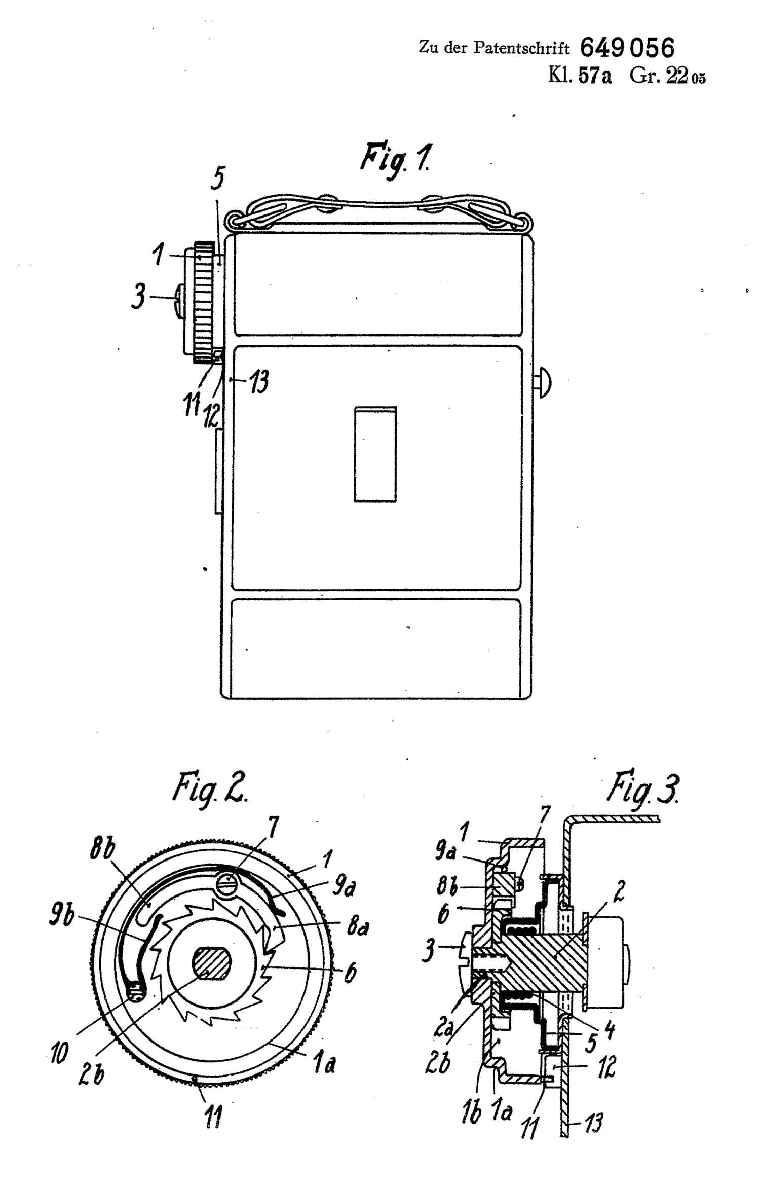
wirklich eine bemerkenswerte Kamera! Ich habe im Netz noch zwei passende Patente gefunden (im Anhang). Dabei fällt auf, dass das erste Patent von 1934 stammt, obwohl die Kamera (wie Du oben schreibst) schon 1932 im Prospekt erscheint.

Beste Grüße

Axel













Zuletzt bearbeitet am 06.04.23 17:47

Datei-Anhänge
1a.jpg 1a.jpg (134x)

Mime-Type: image/jpeg, 300 kB

1b.jpg 1b.jpg (143x)

Mime-Type: image/jpeg, 441 kB

1c.jpg 1c.jpg (139x)

Mime-Type: image/jpeg, 132 kB

2a.jpg 2a.jpg (138x)

Mime-Type: image/jpeg, 475 kB

2b.jpg 2b.jpg (138x)

Mime-Type: image/jpeg, 518 kB

2c.jpg 2c.jpg (135x)

Mime-Type: image/jpeg, 303 kB

07.04.23 13:34
Bae 

100-249 Punkte

07.04.23 13:34
Bae 

100-249 Punkte

Re: Balda Baldi 3x4

Bitte, wie funktioniert das praktisch oder falls nicht, wie sollte es funktionieren? Man dreht den Vorspulknopf bis er blockiert? Und dann löst sich die Blockade wieder? Und beim Rückspulen, was soll dann automatisch ablaufen? Meist hört man ja, wenn der Film aufgewickelt ist.

07.04.23 16:23
Jan_S 

Moderator

07.04.23 16:23
Jan_S 

Moderator

Re: Balda Baldi 3x4

Hallo Axel,
das ist ja ein toller Fund, herzlichen Dank! Was die Datierung betrifft, bin ich jetzt unsicher - entweder wurde die Baldi schon seit 1932 angeboten und der ‚Filmtrasporter‘ floss später in die Serie ein - er soll lt Patent ja auch nachrüstbar sein -, oder die Kamera erschien erst später. Ich muss die Prospekte und die Literatur noch einmal genauer überprüfen, komme aber erst nach Ostern dazu.

--
Beste Grüße
Jan

08.04.23 10:42
axel 

Moderator

08.04.23 10:42
axel 

Moderator

Re: Balda Baldi 3x4

Bae:
Bitte, wie funktioniert das praktisch oder falls nicht, wie sollte es funktionieren? Man dreht den Vorspulknopf bis er blockiert? Und dann löst sich die Blockade wieder? Und beim Rückspulen, was soll dann automatisch ablaufen? Meist hört man ja, wenn der Film aufgewickelt ist.

Soweit ich es beurteilen kann, dient das Zurückdrehen des Spulknopfes dem "Aufzug" des Transportmechanismus. Also: einmal eine volle Umdrehung zurückdrehen, dann rastet die Klinke an entsprechender Stelle ein und beim Vorwärtsdrehen bis Anschlag wird der Film soweit wie nötig transportiert.

Beste Grüße
Axel

10.04.23 10:53
axel 

Moderator

10.04.23 10:53
axel 

Moderator

Re: Balda Baldi 3x4

Der Osterhase hat mir eine Baldi gebracht – vorgestern geliefert und gestern gleich getestet. In der Anzeige beim Onlineauktionshaus stand weder „Balda“ noch „Baldi“, deshalb war der Preis auch sehr günstig. Das Objektiv ist nicht ganz so lichtstark, wie beim Exemplar von Jan.



Der belichtete Film, der noch in der Kamera war, zeigte nach der Entwicklung nur recht schlechte Negative. Ein Tura Pan ist mir vorher aber auch noch nie über den Weg gelaufen.



Gestern habe ich die Kamera dann mit einem Fomapan 100 geladen und ab Filmnummer 1 nur noch mit der "Filmtransport-Automatik" weitergespult. Die Bildabstände sind teilweise recht unterschiedlich und es gibt auch eine ganz leichte Überlappung von zwei Bildern, aber die Automatik funktioniert und 16 Bilder haben auch auf den Film gepasst - anbei zwei Beispielbilder.





Beste Grüße
Axel

Datei-Anhänge
Baldi.jpg Baldi.jpg (141x)

Mime-Type: image/jpeg, 612 kB

img20230408_09434499.jpg img20230408_09434499.jpg (136x)

Mime-Type: image/jpeg, 211 kB

Test-2.jpg Test-2.jpg (142x)

Mime-Type: image/jpeg, 208 kB

Test-1.jpg Test-1.jpg (136x)

Mime-Type: image/jpeg, 276 kB

 1 2 3
 1 2 3
Schneckengangverstellung   Forum-Script-Software   Grüße   Handelsmarken-Modelle   Parallaxenausgleich   Rückwand-Verschluss   Kochmann-Versionen   Unterauftragsverhältnis   Rotfensterverschluss   Gehäuseauslöser   Feinkornentwicklung   Rotfensterbeobachtung   Ausstattungsmerkmale   Photographica-Cabinett   Sichtfensterabdeckung   Onlineauktionshaus   Transportmechanismus   Gegenlichtaufnahme   Filmtransport-Automatik   ‚Filmtrasporter‘