| Passwort vergessen?
Sie sind nicht angemeldet. |  Anmelden

Sprache auswählen:

WWW.BLENDE-UND-ZEIT-FORUM.DE (BZF)
Forum und Kompendium für ...
Photographica / Cinematographica - Interessierte.
Virtuelles Kameramuseum
Sie sind nicht angemeldet.
 Anmelden

[iIa] Paul Zeh Kamerawerk - Zeca-Flex
 1
 1
18.11.25 19:30
axel 

Moderator

18.11.25 19:30
axel 

Moderator

[ iIa ] Paul Zeh Kamerawerk - Zeca-Flex

Hallo zusammen,

die faltbaren TLR-Kameramodelle lassen sich wohl an einer Hand abzählen. Drei dieser interessanten Konstruktionen finden sich bereits hier im Forum - KW Pilot 3x4: https://blende-und-zeit.sirutor-und-comp...8&thread=46, Welta Superfekta: https://blende-und-zeit.sirutor-und-comp...8&thread=53 und Welta Perfekta: https://blende-und-zeit.sirutor-und-comp...8&thread=71. Die vierte im Bunde – die Zeca-Flex – soll im Folgenden kurz vorgestellt werden.



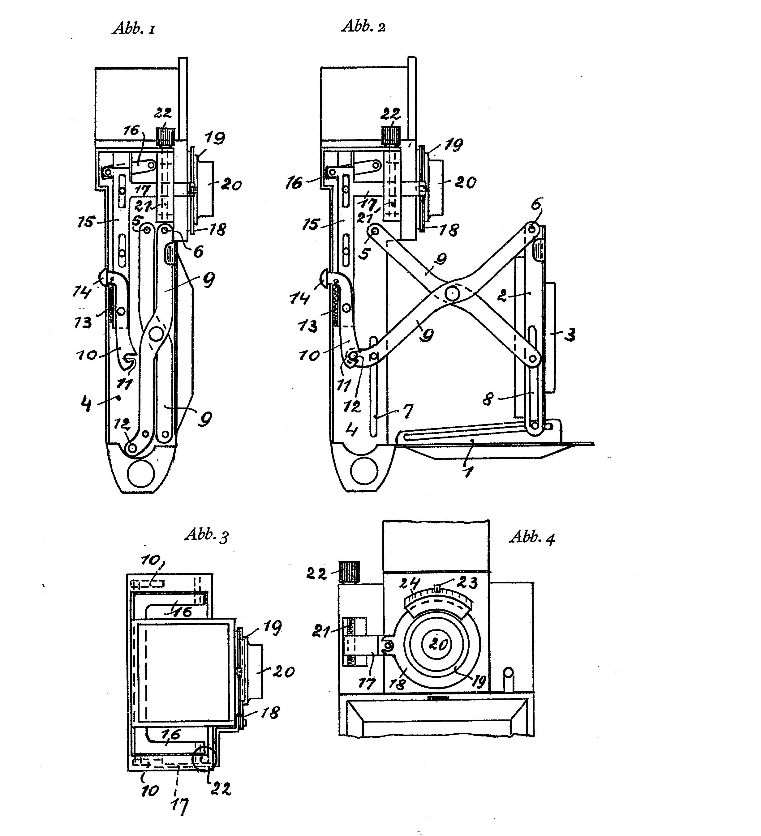
Die Zeca-Flex wurde ebenso wie die Welta Superfekta zur Leipziger Frühjahrsmesse 1935 das erste Mal präsentiert. Die Einstellung der Produktion erfolgte wahrscheinlich Ende der 1930er Jahre. Konstrukteur der Zeca-Flex (wie auch aller weiteren Zeh-Kameramodelle) ist Ernst Zeh, der Bruder des Firmeninhabers Paul Zeh. Das entsprechende Patent für die Kamerakonstruktion wurde am 17. Februar 1935 erteilt. Ein Vorteil der Zeca-Flex gegenüber den oben genannten faltbaren TLRs ist sicherlich das im geschlossenen Zustand geschützte Aufnahmeobjektiv. Hier die Patentzeichnung von Ernst Zeh:



Ein wesentlicher Unterschied der Zeca-Flex zu den bereits vorgestellten faltbaren TLRs ist, dass das das Sucherobjektiv nicht in die faltbare Konstruktion mit einbezogen wurde, faltbar ist lediglich die Konstruktion des Aufnahmeobjektivs. Um die Kamera trotzdem einigermaßen kompakt zu halten, hat Ernst Zeh die Mattscheibe bzw. das Sucherbild auf 3,5 x 3,5 cm verkleinert.
Die Spreizen des Faltmechanismus erinnert nicht zufälligerweise an die kleine Zeca-Goldi, vielmehr hat Ernst Zeh seine gesetzlich geschützte Konstruktion der Goldi auf die Zeca-Flex übertragen und entsprechend angepasst. Die notwendigen Anpassungen betreffen in erster Linie die Kopplung zwischen dem Aufnahme- und dem Sucherobjektiv, um ein Fokussieren über die Mattscheibe gewährleisten zu können. In der obigen Patenzeichnung ist diese Kopplung recht gut zu erkennen.



Fokussiert wird mittels eines Triebknopfes, der direkt neben der Mattscheibe angeordnet ist. Auf den ersten Blick schien mir diese Konstruktion etwas fummelig, aber beim Test erwies sie sich als durchaus praktikabel. Der Triebknopf ist leichtgängig und kann bequem mit einem Finger bedient werden. Das Mattscheibenbild ist mit 3,5 x 3,5 cm recht klein und leider auch recht dunkel. Selbst mit ausgeklappter Sucherlupe fiel mir das genaue Fokussieren schwer. Die Entfernungsskala (beim hier gezeigten Exemplar in feet) über dem Sucherobjektiv ist meinem Empfinden nach ungünstig platziert, denn zum Ablesen muss man die Kamera erst drehen.



Punktabzüge gibt es auch für die Position des Drahtauslöseranschlusses. Der Drahtauslöser muss durch eine Öffnung im Spreizengestänge geführt werden, was zur Folge hat, dass er vorm Schließen der Kamera jedes Mal wieder entfernt werden muss.



Das Filmeinlegen und Vorspulen ist durchaus komfortabel. Die Filmspulen werden in bewegliche Spulenhalter eingelegt. Der Halter für die Abwickelspule kann zum Beladen entnommen werden und der Halter für die Aufwickelspule ist klappbar gelagert. Wenn der Film eingelegt und die Rückwand wieder geschlossen ist, spult man zunächst per Rotfenster bis zum ersten Bild vor. Danach kann man das Rotfenster schließen und der weitere Filmtransport erfolgt mit Hilfe des Bildzählers. Achtung: Das Rotfenster ist so positioniert, dass es die Nummerierung für das Format 6x9 zeigt! Sollte der Bildzähler der Kamera also defekt sein, kann man den Film nicht per Rotfenster in die korrekte Position für 6x6 Aufnahmen spulen. Der Filmtransport lässt sich am Bildzähler durch entsprechende Strichmarkierungen recht genau ablesen, allerdings werden die Bildabstände zum Filmende hin größer.



Meine Zeca-Flex ist mit einem Schneider-Kreuznach Radionar 3.5/75,5 cm im Compur-Verschluss bestückt, was wohl die preiswerteste Ausstattungsvariante darstellt. Weiter Ausstattungsvarianten sind Xenar 3.5, Tessar 3.5 und am begehrtesten wohl Xenar 2.8 jeweils im Compur-Rapid-Veschluss. Die Zeca-Flex verfügt (wie die anderen drei genannten faltbaren TLRs) nicht über einen Gehäuseauslöser – ausgelöst wir direkt am Verschluss.

Ich habe die hier gezeigten Zeca-Flex auch mal praktisch getestet. Belichtet wurde ein abgelaufener Kodak T-Max 100 (MHD 2014) mit 80 ASA und entwickelt in Adox Rodinal 1:25 für 6 Minuten. Die Testaufnahmen zeigen, dass das Radionar durchaus ansehnliche Ergebnisse liefert.





Beste Grüße
Axel

Datei-Anhänge
1.jpg 1.jpg (28x)

Mime-Type: image/jpeg, 319 kB

2.jpg 2.jpg (26x)

Mime-Type: image/jpeg, 374 kB

3.jpg 3.jpg (25x)

Mime-Type: image/jpeg, 257 kB

4.jpg 4.jpg (26x)

Mime-Type: image/jpeg, 164 kB

5.jpg 5.jpg (25x)

Mime-Type: image/jpeg, 339 kB

6.jpg 6.jpg (26x)

Mime-Type: image/jpeg, 206 kB

img796b.jpg img796b.jpg (25x)

Mime-Type: image/jpeg, 554 kB

img799b.jpg img799b.jpg (26x)

Mime-Type: image/jpeg, 447 kB


Hinweise:

  • These Notes in English here

  • Urheberrechte 1: Keine Scans von Prospekten, Bedienungs-Anleitungen, Prominentenfotos, Kunstobjekten oder Buch/Zeitschriften-Artikeln, die über begründete Bildzitate hinaus gehen.

  • Urheberrechte 2: Nur selbst aufgenommene Fotos. Keine Fotos auf und in fremden Grundstücken / Gebäuden / Museen, Ausstellungen, Theatern, usw.

  • Urheberrechte 3: Textpassagen von fremden Quellen vermeiden, höchstens einige Zeilen deutlich als Zitat erkennbar mit genauer Quellenangabe.

  • Keine Fotos, auf denen Personen erkennbar oder zuord-bar sind, ohne deren schriftliche Genehmigung (DSGVO). Ebenso keine erkennbaren KFZ-Kennzeichen oder Fragmente davon! !

  • Fotos: Für beste Darstellung die Fotos (Thumbnails) unter den Textbeiträgen anklicken.

  • Der Zähler der Vorschaubilder zeigt NICHT die echte Zugriffszahl, die Bild-Anklicke direkt im Text werden nicht gezählt!


18.11.25 20:33
Jan_S 

Moderator

18.11.25 20:33
Jan_S 

Moderator

Re: Paul Zeh Kamerawerk - Zeca-Flex

Hallo Axel,

das ist ja wirklich ein schönes Exemplar dieser außergewöhnlichen Kamera! Vielen Dank fürs Zeigen. Ich hatte das Modell auch immer mal wieder unter Beobachtung, konnte mich bislang aber nicht durchringen...

--
Beste Grüße
Jan

22.11.25 19:56
Holgerx 

500 und mehr Punkte

22.11.25 19:56
Holgerx 

500 und mehr Punkte

Re: Paul Zeh Kamerawerk - Zeca-Flex

Hallo,

Ich hatte mir Anfang des Jahres auch eine Zeca-Flex zugelegt, die vorbereitete Vorstellung aber zwischenzeitlich vergessen. Daraus nachfolgend, ein paar ergänzende Gedanken.

Wie bei vielen anderen einfachen Rollfilmfaltern erfolgreich praktiziert, versuchte man auch bei den zweiäugigen Faltern, die Größe der Kameras zu verringern, um den Gebrauch zu erleichtern. Das ist aber bei dem zweiäugigen Kameratyp weniger erfolgreich gelungen. Die Spulenräume der TLRs nutzen den Platz im Gehäuse so geschickt aus, dass kaum zusammenknautschbarer Raum existiert. In Konkurrenz mit der Rolleiflex Standard (alt) sind die Falter dann auch nur unwesentlich flacher, aber dafür höher, etwas breiter und deutlich schwerer.
Rolleiflex Standard (alt): 773 g
Zeca-Flex: 1053 g
Welta Perfekta: 991 g



Hätte ich damals die Zeca-Flex im Fotoladen mit einer Rolleiflex verglichen, sähe ich in der Größe kaum einen Vorteil, beim Gewicht einen deutlichen Nachteil und was das Fokussieren über die kleinere Mattscheibe der Zeca angeht, einen weiteren Nachteil. Der Klappmechanismus ist bezüglich der Dauerhaftigkeit sicherlich nachteilig, und bezüglich der Präzision wäre sowieso klar, dass die Rollei bei einem fixen Gehäuse im Vorteil ist. Was die Preise betrifft, habe ich im Augenblick keinen Vergleich. Aber auch ohne Preisinfo wäre meine Entscheidung gefallen und die Zeca würde ich stehen lassen.

Allein bezüglich des Gewichts fühlt sich die Zeca gegenüber der Rollei mit 36 % mehr wie ein Stein an und genauso ist die dann untergegangen. Von der Zeca sollen weniger als 2.000 Stück produziert worden sein. Was aufgrund der Seltenheit die heute unverschämt hohen Preise von ca. 1.000 bis 3.000 € (kauft sowieso keiner) mitbegründet. Zeh hat das Aludruckgussgehäuse seiner Kamera in Edelstahlbleche eingepackt, um im Stil des Art déco mit polierten Kanten viel „Chrom“ zu zeigen, das mag stylish/dekorativ aussehen, aber es bringt auch viel überflüssiges Gewicht mit sich. Bei Rollei hat man die Betonung der Kanten durch blankes Metall übrigens auch gestalterisch eingesetzt, aber da wurde nur das Aluminiumgehäuse fein angefräst. Der Effekt ist viel dezenter, aber die Kamera bleibt ein Leichtgewicht und lädt zum Benutzen ein. Die Welta Perfekta ist übrigens vorwiegend aus Stahlblech und auch nicht viel leichter als die Zeca aber deutlich klappriger, da ein festes Gussgehäuse fehlt.

Die Edelstahlbleche lassen sich schnell mit einem kleinen Magneten nachweisen. Chromnickelstahl ist üblicherweise nicht magnetisch, es sei denn, er wird stark kaltverformt oder geschnitten (Stanzen), was zu einer teilweisen Umwandlung in eine magnetische Kristallstruktur führen kann. Es sind dann nur die umgeformten Bereiche oder die Schnittkanten magnetisch. Der Magnetismus ist dabei deutlich schwächer ausgeprägt als bei unlegiertem Stahl. Und eben das kann man bei der Zeca-Flex feststellen. Zur Hervorhebung der blanken Kanten wurden alle einhüllenden Bleche tiefgezogen, in die vertieften Flächen wurde dann die Belederung eingeklebt. Nur für die Interessierten sei erwähnt, dass reine Chromstähle ein ferritisches Gefüge aufweisen und damit magnetisch sind (z.B. nicht rostende Küchenmesser). Der Chromnickelstahl (z.B. nicht rostende Bleche aus V2A: Küchenspüle) hat ein austenitisches Gefüge, welches durch große Krafteinwirkung ferritisch und damit magnetisch wird.

Die Rolleirückwand ist 0,88 mm dick und aus einer Aluminiumlegierung, die Zeca-Rückwand ist bei 0,76 mm Dicke aus Chromnickelstahl, der eine ca. 3-mal höhere Dichte aufweist. Zeh hat seine Kamera also für den schönen Schein mit ordentlich Ballast behängt (nur der Christbaumschmuck aus Bleilametta ist schwerer), das hat die damalige Zielgruppe offensichtlich weniger überzeugt. Die aufkommenden Kleinbildkameras und der Zweite Weltkrieg haben ein Übriges getan.

Heute finden die Sammler die Kamera neben der Technik angeblich auch aufgrund der Art déco-Optik interessant, da das Gewicht in der Vitrine irrelevant ist. In der Vitrine zählt mehr der schönen Schein bzw. die Vorstellungen des Sammlers als der Gebrauchswert, was die neue Wertschätzung mit erklären könnte. Ich war allerdings etwas enttäuscht, als ich die Kamera in den Händen hielt, auch wenn die noch überraschend gut funktionierte.

Grüße
Holger

Zuletzt bearbeitet am 22.11.25 19:59

Datei-Anhänge
2.jpg 2.jpg (23x)

Mime-Type: image/jpeg, 614 kB

23.11.25 10:37
Rainer 

Administrator

23.11.25 10:37
Rainer 

Administrator

Re: Paul Zeh Kamerawerk - Zeca-Flex

Hallo zusammen,

das ist ja wirklich mal eine besondere Kamera mit Alleinstellungsmerkmalen! Beim Design dominiert die technische Notwendigkeit, man sieht ihr deutlich Technik an. Ein wenig erinnert sie mich an das Empire State Building. Die Kamera hat was. Eine Zierde jeder Sammlung.



Beste Grüße von Haus zu Haus
Rainer (Forumbetreiber)

Analog: Aus Negativ wird Positiv.
Digital: Pixel sind nicht alles, aber ohne Pixel ist alles nichts.

23.11.25 11:51
Jan_S 

Moderator

23.11.25 11:51
Jan_S 

Moderator

Re: Paul Zeh Kamerawerk - Zeca-Flex

Hallo Holger,

herzlichen Dank für Deine Einschätzung zur Zeca-Flex! Gerade in dem Vergleich konkurrierender Modelle liegt für mich ein Reiz des Sammelns; so spiegeln die Modelle wirtschaftliche Entwicklungen und technische Irrwege wider.

Holgerx:
Was die Preise betrifft, habe ich im Augenblick keinen Vergleich. Aber auch ohne Preisinfo wäre meine Entscheidung gefallen und die Zeca würde ich stehen lassen.

Da kann ich etwas ergänzen: Die Zeca-Flex kostete nach der bei Kerkmann (Nr. 01920/01921) abgedruckten Preisliste um 1936 zwischen 115,00 (Xenar 4,5 in Compur S) und 150,00 RM (Tessar 3,5 in Cpr.-Rapid). Die Perfekta (mit Tessar 3,8) kam auf 127,00 bzw. 137,00 RM. Die Falt-TLRs konnten somit in erster Linie nur über den Preis konkurrieren: Denn die Rolleiflex Standard (Tessar 3,5; seit 1935 mit Cpr.-Rapid) stand mit 192,00 RM in den Listen. Und 1937 kam schon die Rolleiflex Automat auf den Markt, damit wurde der technische Vorsprung nochmals deutlicher, aber der Preis betrug auch 240 RM...
Wer den Preis für die Rolleilex nicht bezahlen wollte, hatte mit der Ikoflex II (Tessar 3,5 in Cpr.-Rapid) für 165,00 RM ein reelles Angebot, zum nahezu gleichen Preis gab es auch die Voigtländer Superb mit Skopar.


--
Beste Grüße
Jan

Zuletzt bearbeitet am 23.11.25 11:55

23.11.25 14:42
Sammler 

Moderator

23.11.25 14:42
Sammler 

Moderator

Re: Paul Zeh Kamerawerk - Zeca-Flex

Hallo in die Runde

Hier meine cpl. Info zur Kamera

1937
TLR (Zweiäugige Spiegelreflexkamera)
Rollfilm 120/620/B2
Aufnahmeformat 6 x 6 cm
Klapp-/Springkonstruktion
Manualfokus
Lichtschachtsucher
Mechanischer Zentralverschluß
Manuelle Belichtungssteuerung
Tessar 75mm/f3,5
Tessar 75mm/f4,5
Xenar 75mm/f3,5
Xenar 75mm/f4,5
55 x 85 x 185 mm
990 g
Weitere Bilder (2)
Literatur

Spiegelreflexkamera für 12 Aufnahmen auf Rollfilm B II 8
Der Mattscheiben-Vollbildsucher zeigt das Bild haarscharf und genau übereinstimmend mit dem Aufnahmeobjektiv. Lichtstärke des Sucher-Objektes 2,9. Eine Sucherlupe erleichtert die Genauigkeit der Einstellung. Mikrometer-Triebeinstellung auch bei geschlossener Kamera möglich und von oben ablesbar. Scherenspreizen vollkommen feststehend und mit selbsttätiger Verriegelung versehen. Filmführung mit Andruckplatte und Filmzählwerk. Bei Nichtgebrauch vollständig geschlossen, daher Optik und Verschluss bestens geschützt. Kameragehäuse aus Leichtmetall, Lederbezug und vernickelte Ränder.
Xenar 4,5 mit Compur S ... RM 115.- mit Compur Rapid RM 125.-
Xenar 3,5 mit Compur S ... RM 125.- Compur Rapid RM 135.-
Tessar 4,5 mit Compur S ... RM 130.- Compur Rapid RM 140.-
Tessar 3,5 mit Compur S ... RM 40.- Compur Rapid RM 150.-
(Katalog 1936)

Steimers Fotoliste 2010-2011


Gruß
Wolfgang der Sammler

02.12.25 17:44
axel 

Moderator

02.12.25 17:44
axel 

Moderator

Re: Paul Zeh Kamerawerk - Zeca-Flex

Hallo zusammen,

ich habe hier mal alle vier TLR-Falter zusammen abgelichtet:



Die innovativste und sicher auch konkurrenzfähigste ist meiner Meinung nach die Pilot. Sie war die erste der faltbaren TLRs, bediente das damals moderne Format 3x4, besaß den praktischen Schnelltransporthebel und wurde mit hervorragender Optik angeboten.

Auf den zweiten Platz würde ich die Superfekta setzten. Als einzige faltbare TLR für das Format 6x9 besaß sie ein Alleistellungsmerkmal. In ihrer besten Ausstattung mit dem Tessar 3.5 im Compur-Rapid kostete sie 197 RM und konnte damit auch mit der Super-Ikonta konturieren.

Die beiden 6x6-Modelle werden, wie von Jan schon erwähnt, sicher über den Preis konkurriert haben. Zum Vergleich: Für die Rolleicord mit Triotar 3,5 im Compur musste man 1937 128 RM bezahlen – für diesen Preis erhielt man die Perfekta mit dem Tessar 3,8.

Zwei der hier gezeigten TLR-Falter sind übrigens in diesem interessanten Zeitdokument zu sehen: http://mediathek.slub-dresden.de/vid90004210.html

Beste Grüße
Axel

Datei-Anhänge
tlr-falter.jpg tlr-falter.jpg (15x)

Mime-Type: image/jpeg, 196 kB

02.12.25 19:39
Jan_S 

Moderator

02.12.25 19:39
Jan_S 

Moderator

Re: Paul Zeh Kamerawerk - Zeca-Flex

Hallo Axel,

herzlichen Dank – ich bin begeistert! Wenn ich das Ensemble so sehe, kommt doch der Wunsch auf, meine Falt-TLR-Sammlung zu komplettieren...
Deine Einschätzung der Pilot teile ich; nicht zu vergessen übrigens das Zählwerk.

Der Film ist ja toll! Interessant übrigens, dass am Stand von F & H nichts los zu schein scheint; das Interesse scheint eher den lokalen Herstellern und ihren Produkten (und den Zigaretten!) zu gelten...

--
Beste Grüße
Jan

 1
 1
Mattscheiben-Vollbildsucher   Drahtauslöseranschlusses   Ausstattungsvariante   Alleinstellungsmerkmalen   Alleistellungsmerkmal   Belichtungssteuerung   zusammenknautschbarer   Kamerakonstruktion   konkurrenzfähigste   Schneider-Kreuznach   Aludruckgussgehäuse   Strichmarkierungen   Spiegelreflexkamera   Mikrometer-Triebeinstellung   Zeca-Flex   außergewöhnlichen   Ausstattungsvarianten   Schnelltransporthebel   Aluminiumlegierung   Compur-Rapid-Veschluss