| Passwort vergessen?
Sie sind nicht angemeldet. |  Anmelden

Sprache auswählen:

WWW.BLENDE-UND-ZEIT-FORUM.DE (BZF)
Forum und Kompendium für ...
Photographica / Cinematographica - Interessierte.
Virtuelles Kameramuseum
Sie sind nicht angemeldet.
 Anmelden

Belichtungszeit beim Vergrößern
 1
 1
24.03.21 09:13
Clack1967 

500 und mehr Punkte

24.03.21 09:13
Clack1967 

500 und mehr Punkte

Belichtungszeit beim Vergrößern

Liebe Dunkelkammer-Erfahrene,

ich stelle fest, dass die Belichtungszeit beim Vergrößern bei mir extrem kurz ist, meistens nur um 2 Sek., danach werden die Abzüge zu dunkel, bei 5 Sek. und mehr ist alles komplett schwarz. Zu Probestreifen oder Abwedeln usw. kann es bei mir somit gar nicht kommen. Die Abzüge werden gut, aber ich kann nichts gestalten, und in einigen Fachbüchern lese ich z.B. von 20 Sek. Belichtungszeit. Das wäre bei mir völlig unmöglich.

Ich habe einen ROWI mit Cassar mit f=50 und nehme Ilford Multigrade IV. Um die Lichtstärke zu reduzieren, habe ich mir jetzt ein anderes Vergrößerungsobjektiv mit f=80 bestellt und will beim nächsten Mal statt einer Opallampe mit 75 Watt eine mit nur 60 einsetzen. Ist das der richtige Weg?

Ich vergrößere aktuell meistens nur auf 13 x 18, möglicherweise ist das Objektiv dadurch zu nah am Papier?

Für Tipps wäre ich dankbar, weil die superkurzen Belichtungszeiten (letztens war ich bei einer Kontaktkopie bei 0,6 Sek. angekommen!) wirklich nicht optimal sind. An der Blende liegt es offenbar nicht, ich blende das Cassar immer schon um 2 Stufen ab.

Herzliche Grüße

Heiko


Hinweise:

  • These Notes in English here

  • Urheberrechte 1: Keine Scans von Prospekten, Bedienungs-Anleitungen, Prominentenfotos, Kunstobjekten oder Buch/Zeitschriften-Artikeln, die über begründete Bildzitate hinaus gehen.

  • Urheberrechte 2: Nur selbst aufgenommene Fotos. Keine Fotos auf und in fremden Grundstücken / Gebäuden / Museen, Ausstellungen, Theatern, usw.

  • Urheberrechte 3: Textpassagen von fremden Quellen vermeiden, höchstens einige Zeilen deutlich als Zitat erkennbar mit genauer Quellenangabe.

  • Keine Fotos, auf denen Personen erkennbar oder zuord-bar sind, ohne deren schriftliche Genehmigung (DSGVO). Ebenso keine erkennbaren KFZ-Kennzeichen oder Fragmente davon! !

  • Fotos: Für beste Darstellung die Fotos (Thumbnails) unter den Textbeiträgen anklicken.

  • Der Zähler der Vorschaubilder zeigt NICHT die echte Zugriffszahl, die Bild-Anklicke direkt im Text werden nicht gezählt!


24.03.21 10:33
Rainer 

Administrator

24.03.21 10:33
Rainer 

Administrator

Re: Belichtungszeit beim Vergrößern

Hallo Heiko,

da gibt es verschiedene Möglichkeiten. Sehe es mir nach, wenn ich schon bekannte Dinge aufliste, die bei Dir vielleicht garnicht zutreffen:

1) Welchen Entwickler nutzt Du?
2) Wie soll der in welcher Verdünnung angesetzt werden?
3) Welche Lichtstärke hat die Vergrößerer-Birne? (Opaltyp?) (Ist schon beantwortet...)
4) Verwendest Du die Multigrade-Filterscheiben im Strahlengang?
5) Welche Entwicklerbadtemperatur nutzt Du? Entspricht sie den Entwickler-Vorgaben exakt?
6) Sind die Negative "dicht" (gedeckt) genug? Nicht dass sie fast durchsichtig sind?
7) Ist der Belichtungsautomat richtig auf Deine Geräte / Entwickler kalibriert?

Der einfachste Test wäre erstmal, den angesetzten Entwickler mit 30 / 50 Prozent Wasser zu verdünnen.

Ich habe bei meinen Laboraktivitäten immer Belichtungszeiten um 15-20 Sekunden angestrebt.

Vielleicht kannst Du mal ein Negativ einscannen und hier zeigen.

Ein bis zwei Blenden unter Maximalöffnung ist am Besten.





Grüße von Haus zu Haus
Rainer (Forumbetreiber)

Analog: Aus Negativ wird Positiv.
Digital: Pixel sind nicht alles, aber ohne Pixel ist alles nichts.

24.03.21 18:12
Clack1967 

500 und mehr Punkte

24.03.21 18:12
Clack1967 

500 und mehr Punkte

Re: Belichtungszeit beim Vergrößern

Lieber Rainer,

danke für Deine Hinweise. Zu Deinen Fragen kann ich sagen: Eigentlich alles ganz regulär: Entwickler Ilford Multigrade, Mischungsverhältnis 1:9, Entwicklungszeit 3 Minuten, Temperatur 20 Grad C, Filterscheiben gibt's bei dem alten ROWI ja nicht (wo wären die einzusetzen?), die Negative sind immer schön dicht und reichlich belichtet, und ich habe immer zwei Stufen abgeblendet. Ja, 10-15 Sekunden fände ich ideal. Mal sehen, ob der Objektivwechsel und die Wattzahlreduktion was bringen.

Könnte man eventuell mit einem Graufilter arbeiten und ihn anstelle der Rotscheibe im ROWI einsetzen?

Herzliche Grüße

Heiko

24.03.21 21:06
Heinz 

100-249 Punkte

24.03.21 21:06
Heinz 

100-249 Punkte

Re: Belichtungszeit beim Vergrößern

Hallo Heiko,

Clack1967:
..ich stelle fest, dass die Belichtungszeit beim Vergrößern bei mir extrem kurz ist, meistens nur um 2 Sek..
..habe ich mir jetzt ein anderes Vergrößerungsobjektiv mit f=80 bestellt..
Ist das der richtige Weg?
eher nicht. Bei gleicher Blende wirst Du auch annähernd die gleiche Belichtungszeit haben. Zum Vergrößern wählt man die Blende bei der das Objektiv die besten Abbildungseigenschaften hat. Meist 2..3 Blenden unter der vollen Öffnung. (Da liegst Du also schon richtig). Die volle Öffnung wird nur zum Scharfstellen benutzt. Aber Vorsicht bei billigen Objektiven. Da kann es zu Fokusverschiebungen beim Abblenden kommen.

Clack1967:
Könnte man eventuell mit einem Graufilter arbeiten und ihn anstelle der Rotscheibe im ROWI einsetzen?

'Graufilter' ist schon richtig, aber nicht anstelle des Rotfilters. Das Rotfilter liegt normalerweise im abbildenden Strahlengang. Ein Filter hier verringert die Schärfe der Abbildung. Ein Graufilter sollte zwischen Lampe und Kondensor oder zwischen Kondensor und Negativ eingeschoben werden. An dieser Stelle werden auch die gradationssteuernden Multigrade-Filter eingesetzt. Ohne ein solches verkürzt sich die Belichtungszeit natürlich.
Ich würde an Deiner Stelle die 'Opallampe' beibehalten. Übliche matte Glühbirnen eignen sich nicht so gut (schlechtere Helligkeitsverteilung).

Eine Opallampe läßt sich leicht 'dimmen' zur Verlängerung der Belichtungszeit. Da sich die Gleichmäßigkeit der Helligkeit mit zunehmender Dimmung verändert, sollte man nur so wenig dimmen wie nötig. Hier allerdings könnte die längere Brennweite von Vorteil sein.

Gruß

Heinz

24.03.21 22:45
Rainer 

Administrator

24.03.21 22:45
Rainer 

Administrator

Re: Belichtungszeit beim Vergrößern

Hallo Heiko,

eigentlich sind die Daten nicht regulär, denn das Multigrade Schwarz-Weiss-Papier lebt von den Gradiations-Farbfiltern im Strahlengang des Vergrößerers während der Belichtung, damit ist nicht das ausschwenkbare Standard-Rot-Filter gemeint, welches das Einlegen des Papiers vor der eigentlichen Belichtung erleichtert.

Es gab dafür Adapter-Sets mit denen man eine Filterhalterung unterhalb des Vergrößerungsobjektivs und des Standard-rot-Schwenkfilters an-montierte. Wenn man halbwegs geschickt ist, reicht auch ein In-den-Strahlengang-halten des jeweiligen Filters während der Belichtung, hat ein Kollege von mir so gemacht.

Wenn Du ohne die zusätzlichen Gradiations-Farbfilter arbeitest, musst Du von der härtesten Gradiation des Multigrade ausgehen und kommst so zu diesen zu kurzen Belichtungszeiten, die keinen Handlungsspielraum mehr geben.

Ich würde hier kompromisweise das Entwicklerbad verdünnen, dann bekommst Du mehr Zeit-Raum beim Bildaufbau. Wahrscheinlich musst Du das Bad in Schwenk-Bewegung halten. Ist aber keine Dauerlösung. Auch Graufilter aus der Kameratechnik sind ein Versuch wert.

Vielleicht lässt sich der Multigrade Filtersatz noch beschaffen. Das ist nämlich eine feine Sache. Je nach Filter kann man auf alle Negativgradiationen exakt einstellen.

Die Scharfeinstellung sollte bei Offenblende erfolgen, ohne Rotfilter, kein Papier eingelegt, dann Rotfilter einschwenken, dann Papier einlegen, dann ein bis zwei Stufen abblenden, dann Projektorlampe aus, Rotfilter ausschwenken, dann belichten (ohne Rotfilter, aber mit eventuellen Multigrade-Filtern )


Das Suchwort "multigrade filter" führt zu aktuellen Angeboten von Ilford Filter-Sets, die man in den Strahlengang halten kann, auch ohne Adapterset.

Einige Vergrößerer haben auch schon Filterschubladen.





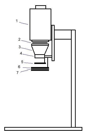
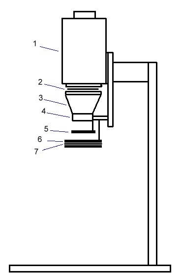
Vergrößerer mit multigrade-Filter-Adapter:



1 Lampengehäuse
2 Negativ in Negativ-Bühne
3 Balgen zum Objektiv
4 Objektiveinheit
5 Schwenkbares Standard-Rotfilter
6 Multigrade-Filter-Set Halterung
7 Einschiebbares Multigrade-Farb-Filter in Abhängigkeit der nötigen Gradiation.





Grüße von Haus zu Haus
Rainer (Forumbetreiber)

Analog: Aus Negativ wird Positiv.
Digital: Pixel sind nicht alles, aber ohne Pixel ist alles nichts.

Datei-Anhänge
vergroesserer.jpg vergroesserer.jpg (169x)

Mime-Type: image/jpeg, 13 kB

26.03.21 10:38
Clack1967 

500 und mehr Punkte

26.03.21 10:38
Clack1967 

500 und mehr Punkte

Re: Belichtungszeit beim Vergrößern

Lieber Rainer,

großartig, -- klar und hilfreich. Vielen Dank. Jetzt verstehe ich den Zusammenhang! Das Ilford-Multigrade-Filterset habe ich mir soeben bestellt.

Herzliche Grüße

Heiko

26.03.21 20:28
Rainer 

Administrator

26.03.21 20:28
Rainer 

Administrator

Re: Belichtungszeit beim Vergrößern

Hallo Heiko,

dann viel Erfolg, Du wirst sehen, das funktioniert nach kurzer Einarbeitung gut und stabil. Es gibt dann kaum Ausschuss und Du kannst (weil die Belichtungszeiten länger werden), besser Einfluss (Abwedeln, usw,) nehmen.


Ich habe die Multgrade-Prozedur nochmal etwas genauer zusammengefasst:

https://blende-und-zeit.sirutor-und-comp...amp;thread=23#3


Grüße von Haus zu Haus
Rainer (Forumbetreiber)

Analog: Aus Negativ wird Positiv.
Digital: Pixel sind nicht alles, aber ohne Pixel ist alles nichts.

Zuletzt bearbeitet am 26.03.21 20:30

 1
 1
Dunkelkammer-Erfahrene   Belichtungszeit   Schwarz-Weiss-Papier   Gradiations-Farbfiltern   Multigrade-Filterscheiben   Vergrößern   Gradiations-Farbfilter   Ilford-Multigrade-Filterset   Mischungsverhältnis   Multigrade-Farb-Filter   Standard-rot-Schwenkfilters   Multigrade-Filter-Set   Helligkeitsverteilung   Vergrößerungsobjektivs   In-den-Strahlengang-halten   Abbildungseigenschaften   Belichtungszeiten   Vergrößerungsobjektiv   Entwicklerbadtemperatur   multigrade-Filter-Adapter